2023泽贝妥单抗上市,价格给力进医保!
关于“2023泽贝妥单抗上市,价格给力进医保!”的相关内容,相信很多病友都想知道,为了方便大家了解,觅健小编搜集整理了有关“2023泽贝妥单抗上市,价格给力进医保!”的一些资料分享给大家,希望能帮助到大家,供参考。

2023年5月17日,博锐生物自主研发的1类创新型生物制品泽贝妥单抗获批上市,用于治疗CD20阳性弥漫性大B细胞性淋巴瘤(DLBCL)患者,非特指性(DLBCL,NOS)成人患者,应与标准CHOP化疗联合治疗。
2023年6月6日,博锐生物举行泽贝妥单抗的商业首发仪式。
利妥昔单抗是罗氏原研的CD20单抗,既往已经有多款生物类似物的上市,泽贝妥单抗上市,将CD20单抗的国产化推向新的高峰。
1CD20与CD20单抗的作用机制
CD,Cluster of Differentiation,意为分化簇或分化群,也叫白细胞分化抗原,它们是细胞膜上的一类蛋白质或糖蛋白。在生理学上,CD分子有许多用途,通常用作细胞的重要受体或配体。 不仅可作为表面标志用于细胞的鉴定和分离,还广泛参与细胞的生长、成熟、分化、发育、迁移、激活。
CD抗原通常用作免疫表型的细胞标记,可根据其表面上存在的分子来定义细胞。这些标记通常用于将细胞与某些免疫功能联系起来。虽然使用一种CD分子来定义群体是不常见的,结合标记允许在免疫系统内定义非常具体的细胞类型。
B淋巴细胞是由骨髓内多能干细胞分化而成,其发育经过祖B细胞、前B细胞、不成熟B细胞以及成熟B细胞4个阶段。成熟B细胞被释放至淋巴组织,可继续分化为浆细胞。
B淋巴细胞抗原CD20,是在淋巴B细胞表面表达的糖基化磷蛋白,在人体B细胞的发育分化周期中,从前B细胞到成熟B细胞阶段,CD20的抗原表面丰度逐渐增加,但在B细胞发育的最初和最后阶段,CD20不表达。CD20在B细胞淋巴瘤,毛细胞白血病,B细胞慢性白血病和黑色素瘤肿瘤干细胞中均有表达。CD20在正常生理组织和肿瘤组织的表达特征使CD20可以作为一个很好的B细胞疾病相关的靶点。也正因此,虽然攻击带有CD20蛋白的肿瘤细胞的同时,也会误杀正常B细胞。
但是,CD20靶点不仅可以治疗B细胞来源的肿瘤,还可以用于治疗的领域包括多发性硬化症、类风湿关节炎等自身免疫疾病等。因为涉及免疫疾病和炎症疾病的B细胞中也会表达CD20蛋白。
靶向CD20的抗体的抗肿瘤活性,主要包括诱导凋亡的作用、CDC和ADCC作用。Type I和Type II作用CD20的位点不同,其主要机理也不一样。两种类型的抗体均有较强的ADCC活性,Type I抗体的CDC活性较强,诱导凋亡的作用较弱,且会引起CD20的聚集,导致抗体本身内化细胞膜表面的CD20同时也会减少,Type II有较强的诱导凋亡的活性,CDC活性较弱,不能引起CD20的聚集内化和抗体的内化。
CD20单抗是一种作用于B细胞表面CD20分子的人鼠嵌合单克隆抗体,主要包含利妥昔单抗及其类似物。其中利妥昔单抗于1997年获FDA批准,首先应用于治疗非霍奇金淋巴瘤和慢性淋巴细胞白血病,随后被批准用于类风湿关节炎和AAV的治疗。
CD20单抗可以特异性地与CD20抗原结合,靶向诱导B细胞凋亡,减少自身抗体的产生,对系统性红斑狼疮(SLE)、肾小球肾炎等与自身抗体致病相关的疾病治疗存在理论基础。
2淋巴瘤与泽贝妥单抗
淋巴瘤是常见的恶性肿瘤之一,B细胞非霍奇金淋巴瘤是最常见的类型之一,发病人数和死亡人数均逐年递增。
全球第一款CD20单抗罗氏的利妥昔,自上世纪90年代问世以来,迅速成为治疗某些B细胞恶性肿瘤特定类型的标准方案,延续至今。这也是最成功的抗癌药物系列之一,利妥昔曾创下年收入70亿美金的纪录。
以利妥昔单抗为基础的方案是当前治疗B细胞淋巴瘤的基石。但是,仍有约40%的患者经过初始标准治疗后会发展为复发/难治型,临床上急需完全缓解率更高、无进展生存期更长的治疗方案。
泽贝妥单抗注射液为针对B细胞表面CD20抗原的人-鼠嵌合型单克隆抗体,可特异性结合B细胞表面的CD20抗原,从而启动B细胞溶解的免疫反应,发挥抗肿瘤作用。
泽贝妥单抗商品名安瑞昔,适用于CD20阳性弥漫大B细胞淋巴瘤。该药是国内首个获批上市的国产CD20抗体1类新药,也是博锐生物首款获批上市的1类创新生物药。
3临床数据与竞争优势
泽贝妥单抗注射液作为一款1类创新药,相较于利妥昔单抗在药物结构上有26个氨基酸位点的优化,这也令其生物活性得到进一步改善。
临床前研究数据表明,相比于利妥昔单抗,泽贝妥单抗注射液的抗体介导的细胞毒性效应(ADCC)更强,同时具有更大的稳态分布容积,能够对B细胞产生更持久的清除作用,发挥更好的药物作用。
泽贝妥单抗注射液III期临床研究,辐射全国43个研究中心,共计招募483例受试者,是一项随机、双盲、阳性药对照临床研究。
三期临床数据显示,泽贝妥单抗联合CHOP治疗DLBCL初治患者的客观缓解率(ORR)非劣于R-CHOP,且在6周期治疗结束时具有更高的CR率,其中PPS集中两组CR率具有显著差异(85.7% vs 77.3%,P<0.05),3年无进展生存期(PFS)率和总体生存(OS)率也呈现优于利妥昔单抗的趋势(78.0% vs 70.9%; 87.7% vs 83.1%)。
亚组分析显示,GCB亚型和non-GCB亚型患者接受泽贝妥单抗注射液为基础的联合方案治疗均有临床获益,其中GCB亚型患者临床获益尤为显著(3年OS 94.5% vs 84.2%,P<0.05)。
较利妥昔单抗的更优趋势,让泽贝妥单抗有机会超越王者,实现新的突破。此外,博锐生物还针对泽贝妥单抗治疗原发免疫性血小板减少症开展临床研究,泽贝妥单抗还是有较大竞争优势的。
4三代同堂,利妥昔单抗仍为霸主
作为最经典的单抗药物研发历史,CD20的迭代被人津津乐道。从全球范围看,以CD20为靶点的单抗主要分为三代。
第一代以利妥昔为代表,是将小鼠的B淋巴细胞和骨髓细胞融合,形成的免疫蛋白。第一代CD20单抗的疗效虽然不错,但在制备过程中使用了小鼠的细胞作为原材料,因此无论是鼠源化还是人鼠嵌合抗体,使用存在一定的排异反应,治疗效果和副作用仍有提高的空间。
第二代CD20单抗通过人源化或者全人源改造后,降低了免疫原性,减少了不良反应。相比于第一代产品,第二代特异性和抗原结合的亲和力有一定的下降。如奥法妥木单抗,最初获批用于治疗慢性淋巴细胞白血病(CLL),商品名为Arzerra;后来诺华获得奥法妥木单抗后,将其开发用于治疗多发性硬化症,商品名为Ocrevus。
第三代CD20单抗通过糖基化修饰抗体Fc片段,增强了靶点结合力,使得ADCC效应增强。如奥妥珠单抗,是Fc段经修饰的人源化单抗,治疗领域也不仅仅局限于非霍奇淋巴瘤,还包括多发性硬化症,免疫性血小板减少症等,商品名为Gazyva。在第三代CD20单抗领域,有众多国内药企入局,包括神州细胞、天广实、海正药业等。目前,神州细胞的瑞帕妥单抗已经获批上市。
遗憾的是,虽然CD20经过多次迭代,但第一代产品利妥昔单抗依然是当之无愧的王者。因为,第二代和第三代产品,都没有真正打败利妥昔。第二代CD20单抗在淋巴瘤开展的各项适应症,疗效方面都无法打败利妥昔单抗,不得不另辟蹊径,进入多发性硬化症领域,这也是其主战场。而第三代CD20单抗,奥妥珠虽然在滤泡性淋巴瘤领域头对头击败利妥昔,但在弥漫性大B淋巴瘤领域却遗憾败北。
2022年6月8日,罗氏的CD3/CD20双抗Lunsumio在欧洲获批上市,CD20靶点之争正式进入双抗时代。
与单抗相比,双抗是一个全新机制的升级。CD20单抗通过补体与抗体依赖性细胞毒性杀伤目标细胞,而双抗则是通过牵引T细胞的方式进行打击。
Lunsumio的作用机制,是B细胞表面的CD20和T细胞表面的CD3。简单理解,就是一只手抓住T细胞,另一只手将肿瘤细胞抓到T细胞面前,使T细胞定向杀伤肿瘤细胞。因为血液中含有丰富的T细胞,并且还可以轻松接触“致病”的肿瘤细胞,两者结合,强效杀敌。这也是CD3/CD20双抗在血液瘤中拥有较好效果的原因。
具体来看数据,在针对至少接受过两次全身治疗的复发或难治性滤泡性淋巴瘤的成年患者,Lunsumio中位随访时间18.5个月之时,客观缓解率为80%(n=72/90),完全缓解率为60%(n=54/90),中位反应持续时间达到了22.8个月。
5CD20单抗迈入全面国产化时代
但是,无论如何,国产化之路已经开始。
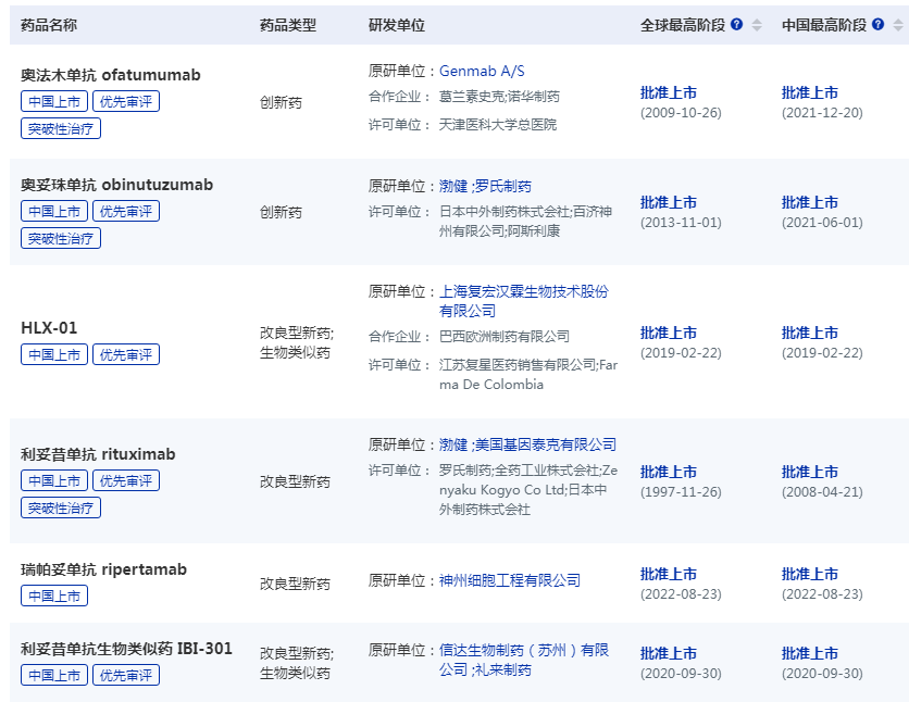
国内已获批上市的CD20单抗药物共有7款,包括3款进口产品,分别为罗氏的利妥昔单抗:美罗华和奥妥珠单抗:佳罗华、诺华制药的奥法妥木单抗:全欣达;3款国产药品,分别为复宏汉霖的利妥昔单抗生物类似药:汉利康、信达生物的利妥昔单抗生物类似药:达伯华、神州细胞的瑞帕妥单抗:安平希(原治疗用生物制品2类)。
博锐生物的泽贝妥单抗:安瑞昔属于1类新药,并非与另外3款国产药物相同,这在未来的市场待遇上也会有所不同。
除此之外,正大天晴、齐鲁制药、君实生物、百奥泰等20余家国内企业也在布局CD20靶点相关药物,涉及单特异性抗体、双特异性抗体、抗体偶联药物、CAR-T、放射性药物、抗体类融合蛋白等多种成分类别。
罗氏制药2022年中国业绩是近三年来的首次下滑(-7%)。罗氏在财报中称,主要原因是美罗华、赫赛汀和安维汀等主要产品在中国市场上遭遇生物类似药的激烈竞争。
CD20是一个极有代表性的靶点。对于当下的中国创新药市场而言,热门靶点通常“扎堆”,赛道竞争异常激烈;而当这些产品逐渐报批上市后,价格战随即而来。
据分析,中国CD20单抗市场将以21.9%的年复合增长率稳步前进,由2018年的25.2亿元将增长至2023年的67.8亿元。预估未来将以6.7%的年复合增长率于2030年达到106.9亿元。广阔市场,未来属于谁的,目前还刚刚开始。
▲ 国内已获批上市的6款CD20单抗药物
泽贝妥单抗(安瑞昔)药品价格说明:
医保前价格3326元/盒;目前泽贝妥单抗注射液安瑞昔®成功进入医保目录,期待2024年医保价格执行!
通过上述2023泽贝妥单抗上市,价格给力进医保!的介绍,相信大家对于“2023泽贝妥单抗上市,价格给力进医保!”有了一定的了解。觅健小编建议大家,如出现身体不适,请及时到正规医院就诊,以免错过最佳治疗时期,从而导致病情恶化。想要了解更多药品资讯可以继续关注觅健或者下载觅健APP!
温馨提示:患者必须要做到合理科学用药,在专业医生或药师指导下用药,根据个体病情选择合适的治疗方案。
相关资讯







